Electrical Power System

Table of Contents

Description:


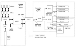
Electrical Power Distribution Example. Credit: Boeing

The station will require power to operate the electronics and hardware needed for the refining and refueling process. While the Solar Arrays will generate that power, a system needs to be in place to distribute the needed power in when and where it is required around the station. The current power system backbone on the ISS is sufficient but will need modified to accept new hardware. This system was previously created by Boeing in conjunction with NASA.


Sources:


Return to Engineering Hardware list